2016-2022 All Rights Reserved.平安财经网.复制必究 联系QQ 备案号:
本站除标明“本站原创”外所有信息均转载自互联网 版权归原作者所有。
邮箱:toplearningteam#gmail.com (请将#换成@)
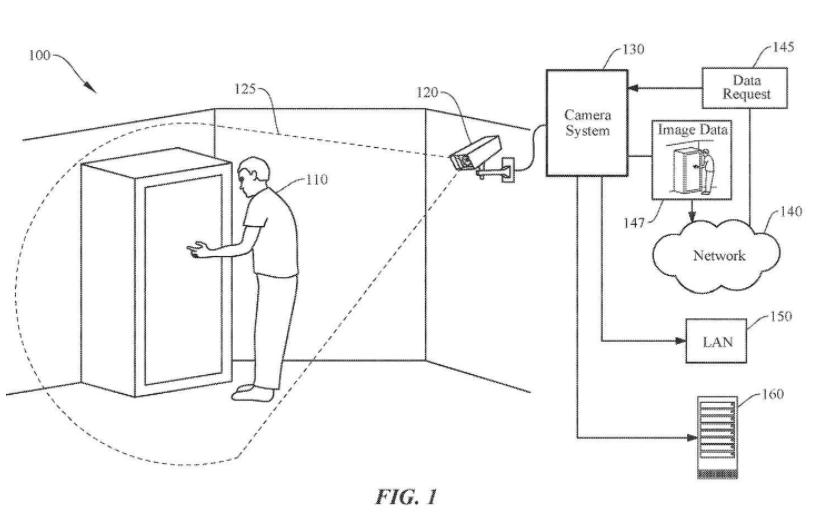
近日,据美国商标和专利局公示的最新清单,苹果公司获得了一项关于数据安全传感器系统的专利,表明苹果正在考虑开发自己的家庭安全系统。这一专利的编号为US 11682278 B2。

根据专利报告,苹果认为近年来智能家居技术在功能和性能方面取得了巨大的进步,而新专利可以进一步提升用户体验,满足个人用户的特定需求。苹果指出,家庭安全摄像头的普及越来越广泛,通过增强其功能可以更好地保护用户的家庭安全。
除了丰富家庭安全摄像头的功能,苹果在专利中还专门提及了如何防止网络攻击,避免摄像头成为攻击者的监控工具。在一些实施案例中,苹果引入了数据安全传感器系统,用于对图像、音频等数据进行安全保护。此外,苹果还提及采用专用处理器,监控和限制任何外部端口(包括I/O端口)对传感器数据的访问,并控制I/O端口的通信带宽。
这一专利的获得表明苹果对家庭安全领域的兴趣和投入,预示着苹果可能会在未来推出自己的数据安全家庭系统。苹果一直以用户隐私和数据安全为重要关注点,通过引入新的安全技术和措施,希望为用户提供更加安全可靠的智能家居体验。
虽然该专利的获得并不意味着即将推出具体的产品,但它显示了苹果在智能家居领域的积极探索和创新意图。随着越来越多的家庭关注数据安全和隐私保护,苹果开发数据安全家庭系统有望满足用户的需求,并为智能家居行业带来新的发展机遇。
总体而言,苹果获得的专利为我们展示了其在家庭安全领域的前瞻性思维和技术实力。未来,我们可以期待苹果在智能家居领域持续发力,为用户带来更加安全和智能化的家庭生活体验。
2016-2022 All Rights Reserved.平安财经网.复制必究 联系QQ 备案号:
本站除标明“本站原创”外所有信息均转载自互联网 版权归原作者所有。
邮箱:toplearningteam#gmail.com (请将#换成@)