2016-2022 All Rights Reserved.平安财经网.复制必究 联系QQ 备案号:
本站除标明“本站原创”外所有信息均转载自互联网 版权归原作者所有。
邮箱:toplearningteam#gmail.com (请将#换成@)
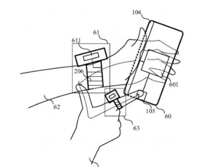
华为刚刚申请了一项新技术的专利。该专利是针对能够进行远程传输的新型“无线充电系统”。换句话说,它描述了一种能够增加无线充电技术距离的系统。

根据ITHome 报告,公开号为CN112564295A的专利描述了一种无线充电技术,该技术能够在发射电极和一个接收电极之间保持一定距离的同时进行发射。简而言之,其无线充电技术的形式多种多样。从专利说明书中可以看出,当前的无线充电技术要求两个线圈彼此直接相对放置,并且两个线圈之间的距离非常接近发射功率。
这极大地限制了无线充电技术的应用。因此,这家中国科技巨头的专利指出,它可以与多种材料一起使用,例如铁,铝,铜,其他合金,金属管和其他各种物品。此外,它还补充说,该技术还可以使用人类,动物,土壤,地球,海水和其他非金属介电物体,只要其电导率大于空气的电导率即可使它们通过。
华为的这项专利旨在提高无线充电技术的整体应用。通过增加充电的有效范围,该技术可能会为智能手机以外的其他各种产品带来福音,包括智能手表和智能手环。不幸的是,我们无法知道该公司实际上是在开发这种产品还是仅仅覆盖所有基础。
2016-2022 All Rights Reserved.平安财经网.复制必究 联系QQ 备案号:
本站除标明“本站原创”外所有信息均转载自互联网 版权归原作者所有。
邮箱:toplearningteam#gmail.com (请将#换成@)